|
|
|||||||
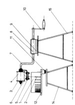
Front view of the device for winding |
|||||||
|---|---|---|---|---|---|---|---|
Click to enlarge
|
Description
Representation of the winding device according to the invention in front view. Part of the patent - Device for winding toroidal inductors |
||||||
| Linked items | |||||||
|
|||||||
| Permanent links | |||||||
|
|
|||||||
| Data provider | |||||||
|
|
|||||||






