Alla pagina principale della DMG-Lib
Home  · Mappa del sito  · Contatta  ·

Ricerca avanzata   Ricerca di un meccanismo

Utilización industrial de los cortes de útiles cerámicos., in: Dyna, Volume 34. 1959

thumbnail
Dokument öffnen (benötigt JavaScript)   Documenti accessibili

Informazioni generali

Autore
Pubblicato  Dyna Journal, Bilbao, Spain, 1959
edizione  
Volume  
ISBN
Abstract "Utilización industrial de los cortes de útiles cerámicos"
"Utilización industrial de los cortes de útiles cerámicos". Dyna Journal, vol. 34 No 4. , pp. 294-297, Bilbao, Spain, (1959). Artículo procedente de los artículos publicados por la revista Dyna.

www.revistadyna.com
Collections
Articoli a Rivista
1950-1999
Superordinate work
 
no fulltext found Volume 34. 1959, in: Dyna
Autore: De Arana, Juan; San Sebastián Múgica, Pedro; Goin, Leon; Perrin, Louis; De Castro, F.; Morales Belga, José Antonio; Ruiz Plata, Ernesto; Jaime, Tolrá; Gorna, Javier; Chueca Goitia, Carmelo; Alonso-Urquijo Balzola, A.; Román Martínez, Ramón; Journal., Dyna; Sotomayor, Emilio; Noel, L.J.; Abram, L; Mc Breen, J.P; Sherlock, J.; Mouton Ibáñez, Eduardo
Pubblicato: 1959
Immagini
 
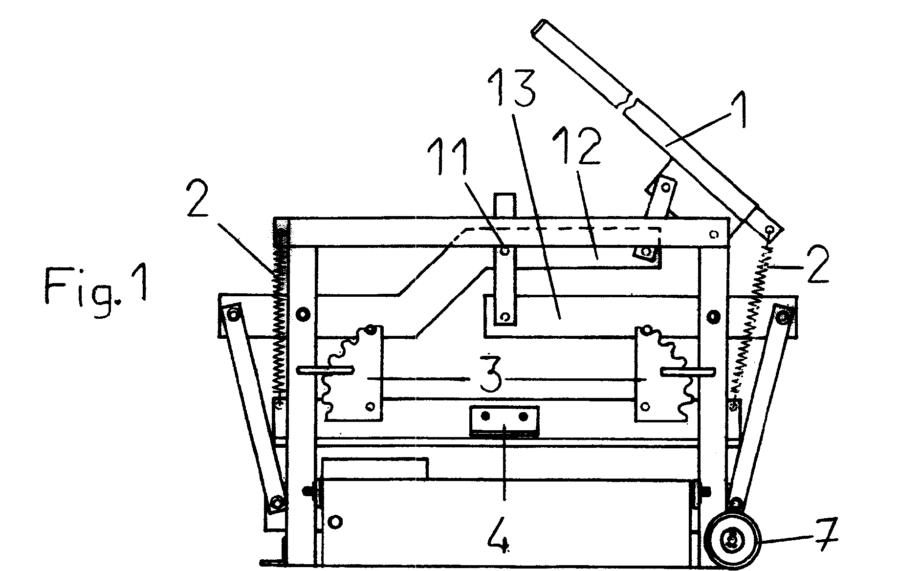
Improved machine for manual cutting of brick
Premi per ingrandire
Linked items
Images: Improved machine for manual cutting of brick
Documents: Volume 34. 1959
Permanent links
DMG-Lib FaviconDMG-Lib https://www.dmg-lib.org/dmglib/handler?docum=27489009
Europeana FaviconEuropeana  http://www.europeana.eu/portal/record/2020801/dmglib_handler_docum_27489009.html
Data provider
UBCUniv. Basque C.  http://www.ehu.es/compmech/welcome/Home.html
Administrative information
Time of publication 1959

×