|
|
|||||||||||||||
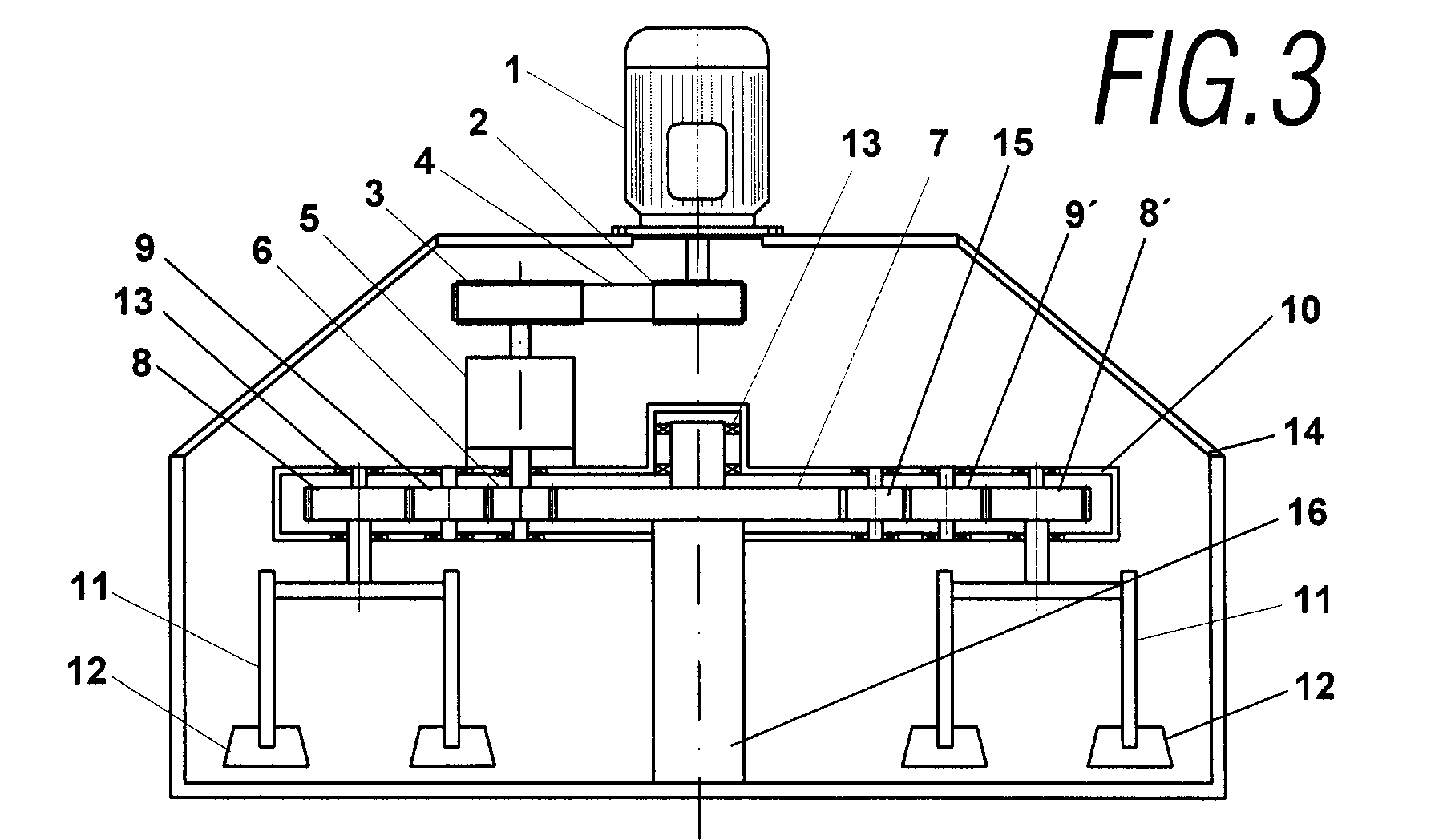
Mecanismo de accionamiento para dispositivos mezcladores. |
|||||||||||||||
|---|---|---|---|---|---|---|---|---|---|---|---|---|---|---|---|
|
|
||||||||||||||
| Collections | |||||||||||||||
|
|||||||||||||||
| Imagini | |||||||||||||||
| Linked items | |||||||||||||||
|
|||||||||||||||
| Permanent links | |||||||||||||||
|
|
|||||||||||||||
| Data provider | |||||||||||||||
|
|
|||||||||||||||
| Administrative information | |||||||||||||||
|
|||||||||||||||











