|
|
|||||||
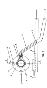
Punching pliers - Overview |
|||||||
|---|---|---|---|---|---|---|---|
Click to enlarge
|
Description
The pliers is used for perforation of products with low resistance. Part of the patent - Punching pliers. |
||||||
| Linked items | |||||||
|
|||||||
| Permanent links | |||||||
|
|
|||||||
| Data provider | |||||||
|
|
|||||||






