|  | |||||||
| Improvements introduced in minute-devices | |||||||
|---|---|---|---|---|---|---|---|
|    Click to enlarge | Description 
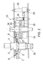
                    Front view of the minute circle device, which shows the auxiliary train | ||||||
| Linked items | |||||||
| 
 | |||||||
| Permanent links | |||||||
| 
 | |||||||
| Data provider | |||||||
| 
 | |||||||
 
    





 
     
     Newsletter
Newsletter DMG-Lib
DMG-Lib 
  Europeana
Europeana 
  Univ. Basque C.
Univ. Basque C.